Каталог товаров

Пластина ОПШ-1к-750*1000-100

Код: РВЗ00313478
Нет в наличии
Страна происхождения
РОССИЯ
Единица измерения
шт
Типоразмер
750*1000
Высота (мм)
100
Длина (мм)
750
Ширина (мм)
100
9 886,88 ₽
Товар не доступен в вашем городе
Описание товара
Характеристики
Описание товара
Пластины шумоглушащие ОПШ предназначены для снижения аэродинамического шума, создаваемого вентиляторами, кондиционерами, воздухорегулирующими устройствами, а также шума, возникающего в элементах воздуховодов. Пластины оборудованы обтекателем.

Шумоглушащие пластины первой комплектации (1к) - пластины из звукоизоляционного материала URSA с перфорированной сеткой.
Характеристики товара

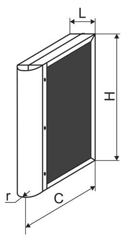
Габаритные и присоединительные размеры (мм)

Пластина ОПШ чертеж.jpg

Модель

L, мм

C, мм

r, мм

H, мм

ОПШ 750*1000-100

100

750

50

1000

Снижение уровней звуковой мощности

Толщина пластин, мм

Расстояние между пластинами, мм

Длина глушителя, мм

Фактор свободной площади

Снижение уровней звуковой мощности (дБ)  пластинчатыми  глушителями  в октавных полосах со среднегеометрическими частотами, Гц

63

125

250

500

1000

2000

4000

8000

100

100

500

50

0,5

2

5

13

17

12

10

8

1 000

1

3

7

20

25

18

16

11

1 500

1

4

9

27

34

24

21

13

2 000

1,5

5

12

35

48

30

25

14

2 500

1,5

6

14

40

48

35

27

15

3 000

2

7

16

45

52

40

32

16